跳到主要內容

花蓮縣政府地政處

:::
首頁 非都市土地專區
Line

字級設定:

列印
非都市土地專區
非都市土地專區2019/12/27地用科

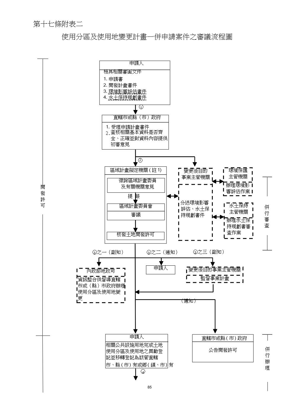
開發許可案件之申請作業程序

開發許可簡介
開發性質不符原使用分區內使用地變更編定原則,須辦理使用分區變更始得開發;或開發性質符合使用分區內使用地變更編定原則,惟其規模足以影響原使用分區劃定目的者。 
開發許可條件
非都市土地申請開發達下列規模者,應辦理土地使用分區變更:
一、申請開發社區之計畫達五十戶或土地面積在一公項以上,應變更為鄉村區。
二、申請開為工業使用之土地面積達十公頃以上或依產業創新條例申請開發為工業使用之土地面積達五公頃以上,應變更為工業區。
三、申請開發遊憩設施之土地面積達五公頃以上,應變更為特定專用區。
四、申請設立學校之土地面積達十公頃以上,應變更為特定專用區。
五、申請開發高爾夫球場之土地面積達十公頃以上,應變更為特定專用區。六、申請開發公墓之土地面積達五公頃以上或其他殯葬設施之土地面積達二公頃以上,應變更為特定專用區。
七、前六款以外之土地面積達二公頃以上,應變更為特定專用區。
前項辦理土地使用分區變更案件,申請開發涉及其他法令規定開發所需最小規模者,並應符合各該法令之規定。
申請開發涉及填海造地者,應按其開發性質辦理變更為適當使用分區,不受第一項規定規模之限制。 
應備文件
一、申請書。
二、開發計畫書圖。
三、涉水土保持法令規定應檢附水土保持規劃書者及涉及涉環境影響評估法令規定應檢附書圖者,從其規定辦理。

相關照片

回列表